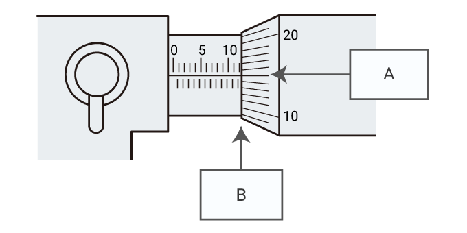
- A
- L’échelle du tambour affiche « 0,15 ».
- B
- L’échelle de la douille graduée affiche « 12,0 mm ».
Micromètres
Présentation générale
Un micromètre est un outil qui mesure la taille d’une cible en l’enserrant. Certains modèles sont capables de réaliser des mesures en unités de 1 μm. Contrairement aux pieds à coulisse, les micromètres appliquent le principe d’Abbe, leur permettant d’offrir des mesures plus précises.
En règle générale, le terme « micromètre » se réfère aux micromètres d’extérieur. Cependant, il existe également toute une déclinaison de micromètres, adaptés à diverses applications. Notons ainsi les micromètres d’intérieur, les micromètres d’alésage, les micromètres tubulaires et les micromètres de profondeur. La plage de mesure est toujours de 25 mm mais varie selon la taille du cadre (0 à 25 mm ou 25 à 50 mm par exemple), il est donc indispensable d’utiliser un micromètre adapté à la taille de la cible. Récemment, les micromètres sont passés au numérique.
Le principe d’Abbe stipule qu’« afin d’améliorer la précision de mesure, la cible à mesurer et l’échelle de l’instrument de mesure doivent être placées de manière colinéaire suivant la direction de mesure. » Sur les micromètres, l’échelle et la position de mesure sont colinéaires, conformément au principe d’Abbe. Les micromètres offrent donc une meilleure précision.
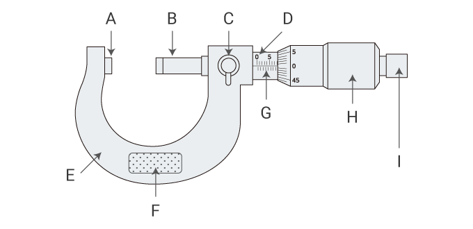
Structure et applications

- A
- Touche fixe
- B
- Broche
- C
- Dispositif de blocage
- D
- Douille graduée
- E
- Cadre
- F
- Plaque thermorésistante
- G
- Échelle
- H
- Tambour
- I
- Limiteur de couple
- Placez la cible entre la touche fixe et la broche, puis tournez le tambour pour bloquer la cible entre les deux surfaces.
Comment utiliser un micromètre
- Avant la mesure, essuyez la surface de la touche fixe et de la broche avec un chiffon propre. Le retrait des éventuelles poussières et particules permet une mesure précise.
- Tenez le micromètre entre le pouce et l’index de la main gauche au niveau de la plaque thermorésistante située sur le cadre et pincez le tambour avec le pouce et l’index de la main droite.
- Serrez la cible entre la touche fixe et la broche, tournez le limiteur de couple jusqu’à ce qu’il saute, puis lisez la valeur.
- Lisez la valeur sur l’échelle principale située sur la douille et sur l’échelle du tambour. Utilisez la ligne sur le bord droit de la douille graduée pour lire la valeur en unités de 0,5 mm. Référez-vous ensuite à la graduation du tambour sur laquelle la ligne centrale de la douille graduée (échelle) s’aligne pour lire la valeur en unités de 0,01 mm.

12,0 + 0,15 = 12,15 mm
Précautions de manipulation
- Étalonnez le micromètre au moyen d’une cale étalon ou d’une jauge dédiée. Afin de garantir une mesure précise, la surface de la touche fixe doit être parfaitement plane. Après plusieurs mesures, la surface peut devenir rugueuse en raison de l’usure et de l’accumulation de poussière. De ce fait, utilisez régulièrement une pièce appelée cale étalon optique pour vérifier la planéité de la surface en fonction des anneaux de Newton.
- En cas de mesure d’une cible métallique et d’étalonnage par cale étalon, veillez à limiter la dilatation thermique. Évitez tant que possible de tenir le métal à mains nues ou utilisez des gants qui ne transmettent pas la chaleur, conçus pour les travaux de précision.
- L’intervalle d’étalonnage des micromètres est de 3 mois à 1 an.



