Observation et mesure du grenaillage au microscope numérique
Le grenaillage est une méthode de traitement qui consiste à pulvériser de petits morceaux de matériau (sable ou billes d’acier ou de fonte) à haute vitesse sur une pièce, rasant sa surface en y laissant de petits creux et bosses. Contrairement au polissage, qui produit un fini lisse, le grenaillage engendre une surface rugueuse. Retrouvez, dans cette section, tout ce qu’il faut savoir sur le grenaillage ainsi que des exemples d’observation et de mesure au microscope numérique.

- Qu’est-ce que le grenaillage ?
- Matériaux des pièces et du média
- Fonctions et effets du grenaillage
- Exemples d’observation et de mesure du grenaillage au microscope numérique
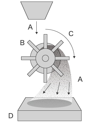
Qu’est-ce que le grenaillage ?
Le grenaillage est un procédé qui consiste à pulvériser rapidement de petites billes d’acier ou de fonte (grenaille) au moyen d’une turbine. Ces billes sont projetées à haute vitesse sur la lame, appliquant le média par force centrifuge. Une autre méthode, qui consiste à pulvériser le média par air comprimé, est appelée sablage.
Grenaillage

Un moteur fait tourner la turbine, pulvérisant le média par force centrifuge. Aucun compresseur n’est nécessaire, réduisant l’énergie et les coûts requis. Cependant, la force de pulvérisation n’est pas facile à régler, ce qui complique la réalisation d’un traitement de précision.
Sablage

Le média est pulvérisé grâce à l’air comprimé généré par le compresseur. La pression est facile à régler, permettant un traitement de haute précision.
Matériaux des pièces et du média
Voici les principaux matériaux de composition des pièces cibles et des médias du grenaillage.
- Pièces cibles
- Métal, céramique, plastique, verre et caoutchouc
- Média
- Petites billes d’acier ou de fonte (grenaille), sable, acier inoxydable, alumine, cuivre, verre, résine, plastique et poudre de coque de noix
Fonctions et effets du grenaillage
- Élimination de la rouille et de la saleté
- Élimination de la rouille des surfaces métalliques, élimination du sable des pièces moulés par pression, élimination des éclaboussures de soudure et élimination des revêtements/taches d’huile
- Ébavurage
- Ébavurage après emboutissage ou usinage
- Création de creux et bosses
- Amélioration de l’adhérence d’un revêtement, d’un placage, d’un collage, etc.
Le traitement satiné permet de prévenir les reflets et d’améliorer la réception de l’huile, la force de frottement et la dissipation thermique.
- Grenaillage de pré-contrainte
- La contrainte de compression résiduelle améliore la résistance à l’usure, à l’ébréchure et à la fatigue.
Exemples d’observation et de mesure du grenaillage au microscope numérique
Voici les derniers exemples d’observation et de mesure du grenaillage au microscope numérique 4K Série VHX de KEYENCE.









