Éclairage LED Périphériques et accessoires pour système de vision CA-D Série

Éclairage rasantLes LED diamétralement opposées à faible angle d’incidence créent un éclairage rasant
CA-DLR

Application
Éclat sur une surface/un contour
Les défauts sur une surface ou un contour sont habituellement difficiles à détecter avec des éclairages standards en raison d’un faible contraste. L’éclairage rasant met en évidence les variations physiques de la cible, ce qui rend la détection possible.

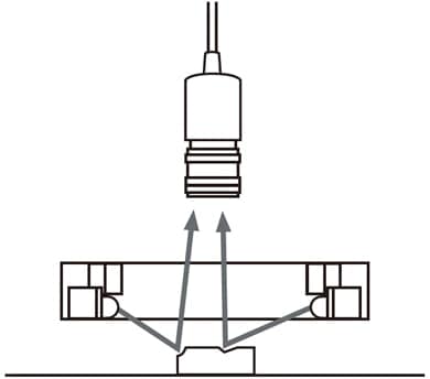
Techniques d’éclairage avec un éclairage rasant
L’éclairage rasant éclaire la cible selon une faible incidence. L’inspection du contour d’une cible ou la détection de défauts physiques sur une surface sont habituellement difficiles à réaliser avec un éclairage direct standard. Comme la direction de la lumière est pratiquement parallèle à la surface, toute variation de hauteur de la surface dévie la trajectoire normale de la lumière vers la caméra, et met ainsi cette variation en évidence.
Disposition de la caméra/de l’éclairage

Application
Éclat sur un contour
Avec un éclairage standard

Avec un éclairage rasant

Goulot de bouteille irrégulier
Avec un éclairage standard

Avec un éclairage rasant

