Procédés de découpage
Le découpage est une technique qui repose sur l’interaction entre un matériau (pièce), tel que du métal, et un outil, permettant à l’opérateur de façonner la pièce à la forme souhaitée par rasage, perçage, etc. Le découpage se décline en deux principaux procédés : le fraisage, où la pièce est immobile alors que l’outil est en rotation, et le tournage, où la pièce est mise en rotation au lieu de l’outil.
- Fraisage
- Outil en rotation

- Tournage
- Pièce en rotation

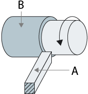
- A
- Outil
- B
- Pièce
Cette section présente le fraisage et le tournage, ainsi que les machines-outils utilisées pour chaque procédé.
1. Fraisage
Le fraisage est exécuté par rotation d’un outil de coupe, appelé fraise, monté sur une broche, l’ensemble étant dénommé fraiseuse. L’outil entre en contact de façon intermittente avec la pièce maintenue en position, permettant une grande variété d’usinages, notamment le découpage de plans droits ou courbes dans la pièce mais également l’alésage ou le rainurage.
Il existe différents types de fraiseuses, définis par l’orientation de la broche : fraiseuse horizontale, fraiseuse verticale et fraiseuse à portique. Ces machines découpent le matériau à la forme souhaitée au moyen de divers outils, tels que la fraise à surfacer, la fraise en bout et la fraise à rainurer.



[1] Fraiseuse polyvalente
La fraiseuse polyvalente est actionnée par l’opérateur. Par déplacement de l’outil relativement à la pièce, l’opérateur définit et applique les conditions de découpage souhaitées, incluant la position de l’outil et l’avance, la vitesse et la quantité découpée. Cette méthode manuelle garantit une finition raffinée, de haute qualité.
[2] Fraiseuse à commande numérique (Fraiseuse à commande numérique par calculateur)
La fraiseuse à commande numérique exécute le fraisage suivant des conditions définies par un calculateur. Avant l’ère de la commande numérique (NC), des cartes perforées étaient utilisées pour commander le fraisage. Aujourd’hui, la commande numérique par calculateur (CNC) s’est généralisée sous le terme de « fraiseuse à commande numérique ». L’automatisation permet de réduire la main d'œuvre impliquée dans le procédé et de découper des formes plus complexes via un programme basé sur un logiciel de CAO ou de FAO 3D.
[3] Centres d’usinage
Un centre d’usinage est une machine à commande numérique multifonction équipée de plusieurs broches surmontées de différents outils, incluant des outils de fraisage. Le centre d’usinage est capable de combiner en série des mouvements linéaires et rotatifs pour assurer un découpage continu, dans le cas d’un alésage ou d’un surfaçage de courbe par exemple, afin de créer des formes plus complexes.
[4] Machines à tailler les engrenages à commande numérique
Les machines à tailler les engrenages à commande numérique sont capables de découper des dents sur des engrenages de toute forme, taille ou catégorie, utilisés dans les industries les plus diverses, de l’horlogerie à l’automobile.
Cliquez ici pour en savoir plus sur les machines à tailler les engrenages à commande numérique
2. Tournage
Lors du tournage, le découpage est exécuté en pressant une pièce cylindrique en rotation contre un outil de coupe, appelé outil de tour. Au moyen d’un tour, l’extrémité d’une pièce cylindrique peut être arrondie, fuselée, percée, alésée pour élargir un trou, filetée ou saignée par rainurage.



- A
- Outil
- B
- Pièce
[1] Tour polyvalent
Sur les tours polyvalents, l’opérateur exécute manuellement l’avance et le changement d’outil. La pièce est maintenue par un support appelé mandrin et est mise en rotation rapide pour le découpage. Les tours d’établi permettent d’usiner de petites pièces sur un établi.
[2] Tour à commande numérique (Tour à commande numérique par calculateur)
La commande des conditions de tournage par calculateur met la création de produits de qualité à la portée de tous. Certains modèles prennent même en charge le changement d’outil automatique pour une efficacité améliorée.
Auparavant, des tours automatiques à came étaient généralement utilisés pour fabriquer des produits de même forme à partir d’un matériau en barre, tout comme l’on découpe en rondelles des pastilles à sucer. Cependant, ces dernières années, les cames ont été remplacées par des programmes appliqués à des tours automatiques à commande numérique.


