Projecteurs de profil
Présentation générale
Les projecteurs de profil sont des instruments de mesure optiques. Leur principe de mesure est similaire à celui des microscopes optiques. La cible est placée sur la platine et éclairée depuis le dessous. Le profil, ou l’ombre, de la cible est ainsi projeté(e) à l’écran. Un système optique télécentrique est utilisé pour permettre une mesure précise.
Les projecteurs de profil ont été initialement conçus afin de contrôler les contours des cibles. Les modèles équipés de fonctions de mesure sont apparus bien plus tard. Certains projecteurs de profil offrent un écran de plus d’1 m de diamètre.
Voici quelques-uns des avantages des projecteurs de profil.
- Mesure de cibles sans contact.
- Mesure de cibles de forme complexe aux détails infimes.
- Absence d’oculaire, l’observation peut se faire à l’écran par plusieurs personnes simultanément.
Les projecteurs de profil sont largement utilisés pour le contrôle et la mesure de composants électroniques et autres pièces de précision. Le référencement des données et le positionnement de la cible sont habituellement assez complexes et chronophages.
Structure et applications

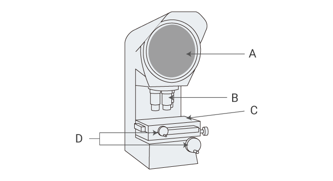
- A
- Écran de projection
- B
- Objectif de projection
- C
- Platine mobile
- D
- Poignées de déplacement de la platine (poignées X et Y)
Comment utiliser un projecteur de profil
- Placez la cible sur la platine.
- Positionnez l’échelle sur l’image agrandie projetée à l’écran, puis mesurez les dimensions. Il est également possible de mesurer les dimensions à partir de l’amplitude de déplacement de la platine XY.
- Certains projecteurs de profil exploitent une échelle qui est lue en pinçant la cible. Sur ces projecteurs de profil, la longueur est lue à partir d’une échelle entre une paire de lignes de lecture.
Précautions de manipulation
- L’intervalle d’étalonnage des projecteurs de profil est de 6 mois à 3 ans.
Les derniers projecteurs de profil
Les modèles les plus récents sont capables de mesurer instantanément plusieurs dimensions sans déplacer la platine XY ni changer la mise au point, permettant le traitement de plusieurs pièces en un temps record.
Pour en savoir plus sur les derniers projecteurs de profil de KEYENCE qui mesurent 1000 points en 3 secondes, cliquez ici.



