Principaux types d’éléments de référence
Un élément de référence est un plan, une ligne ou un point, sélectionné(e) en fonction de la tolérance et de l’élément à spécifier.
Plan de référence
Un plan de référence est un plan sur la cible spécifié en tant que référence. Il peut s’agir d’un plan extérieur (plan de référence) ou d’un plan médian (plan médian de référence).
Le « plan de référence » est défini comme suit selon les normes ISO et ASME :
- ISO 5459 : 2011
- Référence spécifiée consistant en un plan théorique exact.
- ASME Y14.5-2009
- Plan d’un élément de référence simulée établi à partir de l’élément de référence.
Plan de référence
Un plan de référence est une référence spécifiée établie sur une surface extérieure de la cible. L’utilisation d’une surface plane en tant que référence spécifiée est indiquée comme suit :
Symbole d’indication

Élaboration de la référence spécifiée

- a
- Élément de référence simulée = surface d’un marbre
- b
- Référence spécifiée = plan tiré du marbre
La surface de la cible (élément de référence) indiquée en tant que référence spécifiée peut être irrégulière ou déformée. Le plan de référence A peut être établi en plaçant sous la surface considérée comme référence spécifiée un marbre ou toute autre surface de précision suffisante. Le plan de support correspond à l’élément de référence simulée.
Plan médian de référence
Un plan médian de référence est un plan théorique établi sur un plan médian de la cible. L’utilisation du plan médian de deux surfaces parallèles en tant que référence spécifiée est indiquée comme suit :
Symbole d’indication

Élaboration de la référence spécifiée

- a
- Élément de référence simulée = deux surfaces de contact planes
- b
- Référence spécifiée = plan créé par deux surfaces de contact planes
Tout comme dans le cas du plan de référence, la surface de la cible (élément de référence) indiquée en tant que référence spécifiée peut être irrégulière ou déformée. Le plan médian de référence peut être établi en entourant la surface considérée comme référence spécifiée de deux plans de précision. Les deux plans de support correspondent aux éléments de référence simulée. Le plan théorique généré à partir de ces deux éléments constitue le plan médian de référence.
Ligne de référence
Une ligne de référence est une droite théorique établie au centre d’un alésage ou d’un arbre ou sur une arête, par exemple sur le bord d’une cible. Une ligne de référence peut se rapporter à un axe de référence ou à une ligne axiale de référence. La ligne de référence est généralement créée au centre d’un alésage ou d’un arbre et rarement sur une arête. Cette section présente des cas de création d’un axe de référence à partir d’un alésage et d’un arbre. L’« axe de référence » est définie comme suit selon les normes ISO et ASME :
- ISO 5459 : 2011
- Référence spécifiée consistant en une droite théorique exacte.
- ASME Y14.5-2009
- Axe d’un élément de référence simulée établi à partir de l’élément de référence.
Axe de référence (alésage)
Une référence spécifiée créée au centre d’un alésage est indiquée comme suit :
Symbole d’indication

Élaboration de la référence spécifiée

- a
- Référence spécifiée (ligne axiale de référence) = Ligne axiale du cylindre maximal inscrit
- b
- Élément de référence simulée = Cylindre maximal inscrit
La surface de l’alésage de la cible indiquée en tant que référence spécifiée (élément de référence) peut être irrégulière ou déformée. L’insertion d’un arbre de précision parfaitement ajusté à l’alésage permet de créer une référence spécifiée à l’intérieur de l’alésage. L’arbre inséré constitue ici l’élément de référence simulée et sa ligne axiale est la ligne axiale de référence.
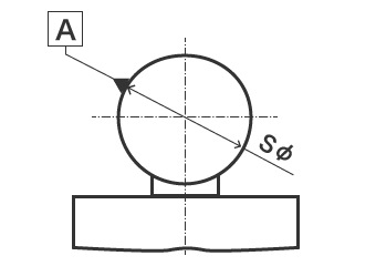
Axe de référence (arbre)
Une référence spécifiée créée au centre d’un arbre est indiquée comme suit :
Symbole d’indication

Élaboration de la référence spécifiée

- a
- Référence spécifiée (ligne axiale de référence) = Ligne axiale du cylindre minimal circonscrit
- b
- Élément de référence simulée = Cylindre minimal circonscrit
La surface de l’arbre de la cible indiquée en tant que référence spécifiée (élément de référence) peut être irrégulière ou déformée. L’insertion de l’arbre dans un encastrement de précision parfaitement ajusté permet de créer une référence spécifiée à l’intérieur de l’encastrement. L’encastrement constitue ici l’élément de référence simulée et sa ligne axiale est la ligne axiale de référence.
Point
Un point de référence créé au centre d’une cible sphérique est indiqué comme suit :
Symbole d’indication

Élaboration de la référence spécifiée

- a
- Référence spécifiée = centre de la sphère minimale circonscrite
- b
- Élément de référence simulée = quatre points de contact type vé (exprimés par la sphère minimale circonscrite)
La surface sphérique de la cible indiquée en tant que référence spécifiée (élément de référence) peut être irrégulière ou déformée. Lorsque quatre points de contact sont créés à l’aide de deux vés, la surface sphérique élément de référence constitue l’élément de référence simulée et son centre est le point de référence.


